よくあるご質問 | ラベルライター
カテゴリー : 機能・使い方 製品仕様
テープとテープアダプターを取り付けるには、どうすればいいですか?(EC-P10)
下記の手順でテープとテープアダプターを取り付けてください。
- 電源が切れていることを確認します。
- プリンターを横置きにし、テープアダプター収納部オープンボタンを押して、カバーを取り外します。

- 使用するテープ幅専用のテープアダプターのカバーを開けます。

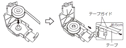
- テープの先端をテープガイドに通しながら、テープをテープアダプターにセットします。

- テープアダプターのカバーをカチッと音がするまで閉めます。
- テープアダプターをプリンターにセットします。
テープの先端を指で持って(図 a )内部の部品に引っかからないように注意しながら、
テープがプリンターヘッドとゴムローラーの間を通るように取り付けます(図 b )。
テープアダプターはカチッと音がするまで奥に押し込んでください。


- a の部分にカバーのツメを引っかけて、カバーを閉じます。

- 対象製品